淄川区人民政府
淄川区审计局
首页
政务公开
政府信息公开
行政执法公示
执法流程
标题:
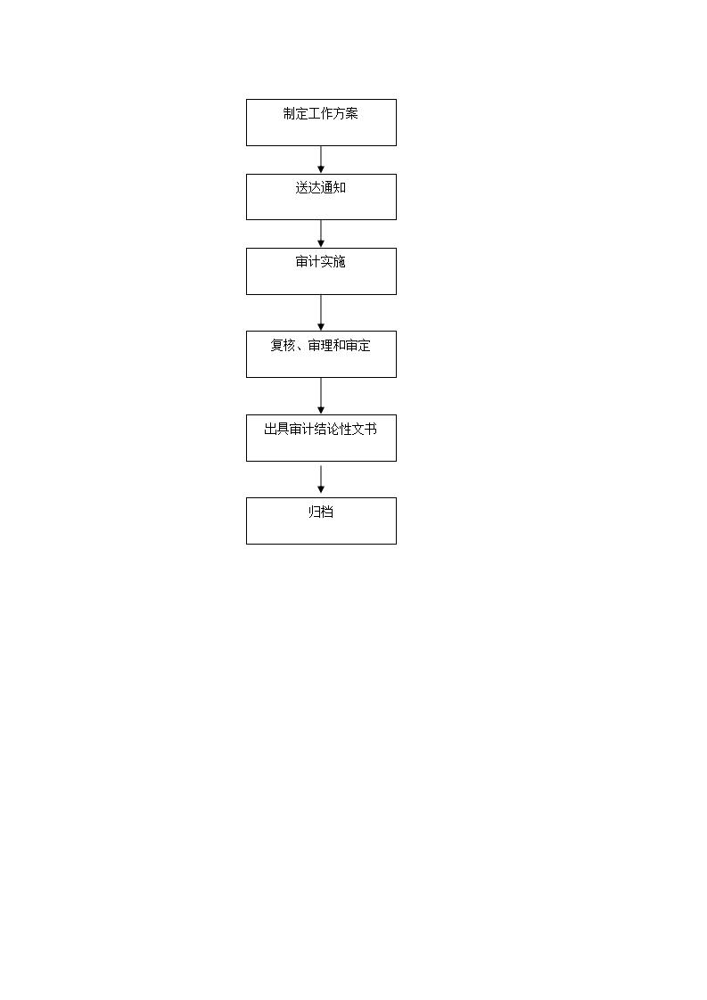
淄川区审计局行政执法流程图
索引号:
11370302004216044T/2025-5201215
文号:
发文日期:
2025-05-12
发布机构:
淄川区审计局
淄川区审计局行政执法流程图
发布日期:2025-05-12
字号:
大
中
小
|
打印
分享:
扫码使用手机浏览本页内容